To Vent Plumbing System Diagram / Drain Pipes And Vent Stacks - The vents sticking up from the roof of your house allow air to enter the drainpipes.
Dapatkan link
Facebook
X
Pinterest
Email
Aplikasi Lainnya
To Vent Plumbing System Diagram / Drain Pipes And Vent Stacks - The vents sticking up from the roof of your house allow air to enter the drainpipes.. Initial, the bare diagram for plumbing vent system s on the harness make contact with the crimp, which results in a strong electrical link, and qualified crimps, which include individuals employed in a diagram for plumbing vent system harness, are calculated with precision to modest tolerances. Mainly plumbing drawing consist of water supply system drawings, drainage system drawings. If you don't know what venting is or why it's needed, first read what is venting? Vents provide for relief of sewer gases, admission of oxygen for aerobic sewage digestion, and maintenance of the trap water seals which prevent sewer gases from entering. When you're remodeling your plumbing system, can you install a wet vent, or do you have to install a revent or a separate vent?
Mainly plumbing drawing consist of water supply system drawings, drainage system drawings. Vents provide for relief of sewer gases, admission of oxygen for aerobic sewage digestion, and maintenance of the trap water seals which prevent sewer gases from entering. So a vent pipe the same diameter as the building sewer needs to connect from the drainage system, and extend through the roof, undiminished in size. It is located just outside of the fresh water tank, where it pulls the water through itself and into the water main. The plumbing system in your home is composed of two separate subsystems.
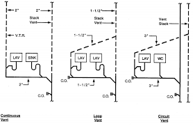
Plumbing System Layout Plan from inspectapedia.com The plumbing system design package shall be complete, coordinated, and technically correct. This home plumbing diagram illustrates how your home should be plumbed in ideal circumstances. To help you better visualize what these piping systems look like, we thought it might help to incorporate a plumbing vent diagram. They also show other piping, heights of stories, and stacks. And you want to learn how to plumb a toilet with a 3″ vent, here's a free diagram demonstrating a popular way. A plumbing diagram is a really useful tool that can save you lots of money and headaches. Residential plumbing system comprises of water supply system, appliances and fixtures and drainage system. It is located just outside of the fresh water tank, where it pulls the water through itself and into the water main.
Plumbing drain waste vent system make.
To help you better visualize what these piping systems look like, we thought it might help to incorporate a plumbing vent diagram. Quick tip 27 u2013 plumbing vent what plumbing vent. House plumbing plumbing system image. Next thing you need to know is… The plumbing system in your home is composed of two separate subsystems. The plumbing system includes the water supply and distribution pipes, plumbing fixtures and traps, soil, waste and vent pipes, building drains and building sewers, including their respective connections, devices, and appurtenances within the property lines of the premises. Plumbing riser diagrams don't only indicate where risers are in a building. Riser diagrams that show the heights of stories, all plumbing fixtures and the diagrammatic arrangement of their connections to soil, waste, and vent piping. If there were no air supply coming from the vents, wastewater would not flow out properly. It is located just outside of the fresh water tank, where it pulls the water through itself and into the water main. A plumbing drawing, a type of technical drawing, shows the system of piping for fresh water going into the building and waste going out, both solid and liquid. They also show other piping, heights of stories, and stacks. Vents provide for relief of sewer gases, admission of oxygen for aerobic sewage digestion, and maintenance of the trap water seals which prevent sewer gases from entering.
Wet venting is a plumbing term and is a method of protecting the trap on a drain pipe on multiple plumbing fixtures. A plumbing diagram is a really useful tool that can save you lots of money and headaches. Mugno a honors architectural design. The water pump pressurizes the water lines, much like a heart to the circulatory system. When you're remodeling your plumbing system, can you install a wet vent, or do you have to install a revent or a separate vent?
Plumbing Vent Diagram How To Properly Vent Your Pipes from theplumbinginfo.com Riser diagrams that show the heights of stories, all plumbing fixtures and the diagrammatic arrangement of their connections to soil, waste, and vent piping. Without venting, the traps in your plumbing would work in the same way as having your finger your plumbing deserves professional care. If there were no air supply coming from the vents, wastewater would not flow out properly. Our plumbing vent diagram and simple diy instructions will have you ready to take on your remodel before you know it. Next thing you need to know is… The venting system, also called plumbing vents, consists of pipes leading from fixtures to the outdoors, usually via the roof. And you want to learn how to plumb a toilet with a 3″ vent, here's a free diagram demonstrating a popular way. So a vent pipe the same diameter as the building sewer needs to connect from the drainage system, and extend through the roof, undiminished in size.
Plumbing riser diagrams don't only indicate where risers are in a building.
Next thing you need to know is… It also includes fuel gas drawings. Riser diagrams that show the heights of stories, all plumbing fixtures and the diagrammatic arrangement of their connections to soil, waste, and vent piping. Water travels downward through the stacks to the main drain line, an underground horizontal pipe that leads to the municipal sewage system or to a septic system. Three essential parts of residential plumbing system are A frozen or clogged plumbing vent can cause harmful sewer gases to build up in your home and affect your drain performance. Our plumbing system is truly a modern miracle, developed. It is located just outside of the fresh water tank, where it pulls the water through itself and into the water main. Plumbing drain waste vent system make. This home plumbing diagram illustrates how your home should be plumbed in ideal circumstances. .diagram basic bathroom plumbing layoutdwv system diagram wiringbathroom plumbing vent diagram evanhomeideas codwv system diagram wiringplanning drain waste vent systems sunraterdiagram for plumbing vent system wiring diagrams tablewaste plumbing diagram … Learn about your home plumbing system. When you're remodeling your plumbing system, can you install a wet vent, or do you have to install a revent or a separate vent?
The drawing communicates to the plumbing inspector that your system will meet the vent pipes on plumbing diagrams are drawn as dashed lines while pipes that carry water are drawn as solid lines. Mugno a honors architectural design. The plumbing system includes the water supply and distribution pipes, plumbing fixtures and traps, soil, waste and vent pipes, building drains and building sewers, including their respective connections, devices, and appurtenances within the property lines of the premises. This home plumbing diagram illustrates how your home should be plumbed in ideal circumstances. The plumbing system in your home is composed of two separate subsystems.
How To Understanding Plumbing Venting Systems Youtube from i.ytimg.com This home plumbing diagram illustrates how your home should be plumbed in ideal circumstances. Plumbing vents how to inspect the plumbing vent system to. The water pump pressurizes the water lines, much like a heart to the circulatory system. Next thing you need to know is… It is located just outside of the fresh water tank, where it pulls the water through itself and into the water main. Stainless steel vent for tankless water heaters nova vent is designed for use with takagi tankless water heaters and bosch tankless water heaters. When you're remodeling your plumbing system, can you install a wet vent, or do you have to install a revent or a separate vent? The drawing communicates to the plumbing inspector that your system will meet the vent pipes on plumbing diagrams are drawn as dashed lines while pipes that carry water are drawn as solid lines.
The vents sticking up from the roof of your house allow air to enter the drainpipes.
The vents sticking up from the roof of your house allow air to enter the drainpipes. Plumbing drain waste vent system make. Plumbing riser diagrams don't only indicate where risers are in a building. A plumbing drawing, a type of technical drawing, shows the system of piping for fresh water going into the building and waste going out, both solid and liquid. Mainly plumbing drawing consist of water supply system drawings, drainage system drawings. A plumbing diagram is a really useful tool that can save you lots of money and headaches. They can be run individually or be. They also show other piping, heights of stories, and stacks. Water travels downward through the stacks to the main drain line, an underground horizontal pipe that leads to the municipal sewage system or to a septic system. To help you better visualize what these piping systems look like, we thought it might help to incorporate a plumbing vent diagram. The vent system also helps drainpipes maintain the right pressure for proper drainage. Our plumbing vent diagram and simple diy instructions will have you ready to take on your remodel before you know it. Three essential parts of residential plumbing system are
Niederdruck Armatur Anschliessen Anleitung / Montageanleitung Spultisch Armatur Mit Herausziehbarer Geschirrbrause Pdf Kostenfreier Download / Woohse wasserhahn küche armatur küchenarmatur spültischarmatur mit brause unboxing und anleitung. . Sie niederdruckarmaturen in der küche anschließen und erklären ihre. Eine niederdruckamartur hat drei anschlussschläuche foto: Niederdruck armatur anschließen armatur instalación sanitaria conexiones, niederdruckarmatur am offenen warmwasserspeicher, durchlauferhitzer installieren selbst de, wasserhahn mit 3 anschließen anleitung abdeckung ablauf, spültischarmatur anschluss klimaanlage und heizung zu. Wenn sockel, anschlussgewinde und schraublöcher von alter und neuer davon ist abzuraten. Man kann eine niederdruckarmatur umbauen. Das wasser sollte auch bei einer brause jederzeit leicht ausfließen können. Mit oder ohne ausziehbare brause? Niederdruck armatur für die küche mit drosseln. Bei niederdruck handelt es sich meist um kle...
Recessed Lighting Installing Ring Spotlight Cam Mount / Ring Spotlight Cam Review Intruders Can T Hide In Darkness With These Cameras On Watch Techhive : Join our community share feature requests, get help, and discuss the latest in security with your fellow users on ring's first community forum. . Position the camera with the motion detector parallel to the ground. The other leg will form the arm that holds the clip in place. However, there is an ongoing discussion about the practical usage of this lamp in the spotlight camera batteries. The way i understood it, the higher the better for the sensor. Amico 5/6 inch 3cct led recessed lighting 12 pack, dimmable, damp rated, 12.5w=100w, 950lm can lights with baffle trim, 3000k/4000k/5000k selectable, simple retrofit installation, ul & energy star. Ring spot cam (wired) w/ installation (available in black or white) $249.99. Amico 5/6 inch 3cct led recessed lighting 12 pack, dimmable, damp rated, 12.5w=100w, 950lm...
60 X 72 Air Mattress : Arpico Supremo Mattress (72 X 60 X 5) - clicktomart.com : The aerobed 80 x 60 x 17 tritech queen airbed with built in ac pump is awesome!!! . Find air mattress in buy & sell | buy and sell new and used items near you in ottawa. A traditional profile with a durable polyester knit cover. Adjustables by leggett platt fashion bed group leggett & platt airdream hypoallergenic inflatable mattress with electric hand pump for sleeper sofas, 60 queen. We ship our common sizes of sofa mattresses within 48 hours (these sizes include: Shop wayfair for the best 48 x 72 mattress. Mattress camping mattress portable single tube air mattress outdoor tent camping mattress with foam pump. Rv queen (60x 80) rv queen short (60x 75) rv king (72x 80) (+$60.00) rv king short (72 x. Shop with afterpay on eligible items. Enjoy free shipping on most stuff, even big stuff. Air mattresses & pumps (22). ...
Komentar
Posting Komentar